HikVision DS-KD8003-IME1/Flush видеомодуль

Артикул: 33187
HikVision DS-KD8003-IME1/Flush фото
Просмотров (5440)

Производитель

Тип устройства

видеомодуль
Все файлыСкрыть все файлы
Товар недоступен
Смотреть аналоги

HikVision DS-KD8003-IME1/Flush 2Мп IP вызывная панель c ИК-подсветкой, врезная; 2 Мп камера типа Fish eye, WDR, BLC, DNR, H.264; Механическая кнопка вызова; микрофон и динамик; тревожные входы 4; 1 RS-485; 2 реле; 1 RJ-45 10M/100M/1000M Ethernet; DC12В/POE; 10Вт; -40 °C...+70°C; IP65; размер рамки 134х124х4 мм; металл, цвет черный.

• В комплекте – вызывная панель и монтажная рамка
• Разрешение 2 МП
• Функция контроля доступа
• Подавление шума и эхо
• Сжатие видео H.264
• Работает при низком освещении
• Сигнал тревоги при попытке взлома
• Камера «рыбий глаз» с ИК-подсветкой
• Поддержка до 8 дополнительных модулей

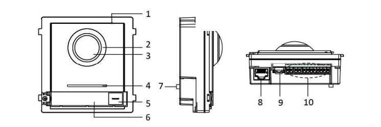
Интерфейсы вызывной панели:

  1. Микрофон;
  2. ИК-подсветка при низком освещении;
  3. Встроенная камера;
  4. Динамик;
  5. Кнопка вызова;
  6. Имя;
  7. Тампер;
  8. Сетевой интерфейс;
  9. Интерфейс соединения модулей (выход);
  10. Терминалы.

Купить HikVision DS-KD8003-IME1/Flush в интернет-магазине СЕК-ГРУПП в Москве: Черницынский проезд, д.3, стр.1 (метро Щелковская). Доставка по России.

Особенности HikVision DS-KD8003-IME1/Flush

👍Тип устройствавидеомодуль
Сертификат HikVisionМы официальный дилер HikVision
Наш рейтинг и отзывы на Яндекс Маркете

Процессор

High-Performance Embedded SOCProcessor

Операционная система

Linux

Метод ввода

Физическая кнопка

Камера

2 Мп HD-камера сИК-подсветкой

Стандарт видеосжатия

H.264

Разрешение

Основной поток: 1920 х 1080
Дополнительный поток: 720 х 480

Улучшение изображения

BLC, DNR, WDR

Антимерцание

50 Гц, 60 Гц

Угол обзора

Горизонтальный – 180°, вертикальный – 96°

Аудиовход

Встроенный всенаправленный микрофон

Аудиовыход

Встроенные динамики

Аудиосжатие

G.711 U, 64Кбит/с

Качество аудио

Подавление шума и эхо

Режим подсветки

ИК-подсветка

Ethernet

10M/ 100M/ 1000M адаптивный Ethernet

Протоколы сети

TCP/IP, RTSP

Тампер

1

I/O входы

4

Соединение модулей

1

Отладка

1

Релейный

2 (30 В, 1 А)

Физическая кнопка

1

Питание

12 В DC, PoE (IEEE 802,3af/at-совместимые устройства)

Энергопотребление

10 Вт

Рабочие условия

-40°C ~ 60°C, влажность 10%~95%

Уровень защиты

IP65

Размеры

117 х 107 x 43,9 мм

Установка

Утопленный монтаж
Рейтинг товара
Отзывов (0)
Оставьте свой отзыв
Имя:
Электронная почта:
Ваша оценка:
Плюсы:
Минусы:
Заголовок:
Отзыв о товаре:
Варианты доставки
Доставка курьером СЕК-ГРУПП

До ТК (СДЭК, ПЭК, Деловые Линии) - 0 Р

Остальные транспортные компании - 1000 Р

Заказы от 60 000 Р (по ценам сайта) - 0 Р

В пределах МКАД заказы стоимость > 5 000 руб. и < 2 кг - 750 руб., > 2 кг составляет 1000 руб.

Негабарит МКАД - 1300 Р (более 5 метров - 2000 Р)

За МКАД - 1000 Р + 90Р/км

Негабарит за МКАД - 1300Р + 110Р/км (более 5 метров - 2000 Р + 110Р/км)

Самовывоз

г. Москва, Черницынский пр-д, д. 3 стр. 1. метро Щелковская

г. Уфа, ул. Трамвайная, д. 2 оф. 1-02

        Мы правильно определили ваш город?

        Безналичный расчет

        Оплата осуществляется путем банковского перевода денежных средств с расчетного счета покупателя на наш расчетный счет.

        Счет выставляется по запросу в печатном или электронном виде. Счет действителен в течении 3-х банковских дней за исключением оборудования производства компании PERCo.

        Оплата наличными в офисах компании 

        Оплата наличными производится в офисах компании при получении товара со склада по адресам:

        • г. Москва, Черницынский проезд, д.3, стр.3 
        • г. Уфа, Трамвайная улица, д.2, офис 1-02
        Оплата наличными при доставке (Москва)

        Стоимость заказа передаётся водителю компании при получении товара.

        Официальный партнер
        Скидки оптовикам
        Доставка по России
        Установка, Монтаж, Обслуживание
        Гарантийное обслуживание
        Ближайшие аналоги