Чтобы запросить цену ниже, укажите номер телефона и e-mail.
Все остальные данные Вы сможете сообщить менеджеру.
Напряжение питания редуктора
Тип редуктора
Тип устройства
Интенсивность
Ширина проезда
Тип стрелы
Напряжение питания
Страна производитель

FAAC 620 STD (104622877) тумба автоматического шлагбаума для стрел до 5 метров; тип двигателя гидравлический; интенсивность 70%;, максимальная ширина проезда 4,5 м.; класс защиты IP44; диапазон рабочих температур от -20°С до +55°С; напряжение питания 220В; полиэфирная краска RAL 2004; габаритные размеры 350х170х1080 мм.
ОСОБЕННОСТИ:
- Гидравлический привод с фиксацией стрелы в положениях открывания и закрывания
- Идеальное решение для проездов с интенсивным, но непостоянным автомобильным движением
- Электронное замедление - ПАТЕНТ FAAC
- Функция передачи данных о состоянии шлагбаума устройствам управления автомобильным движением
- Режимы работы: автоматический, полуавтоматический, парковка, многоквартирный дом и персонализированный
- Механизм внешней разблокировки с помощью трехгранного ключа
- Двухканальный встроенный датчик обнаружения транспортного средства
- Шинное соединение
- Новая стрела круглого сечения с кронштейном для сигнальных ламп
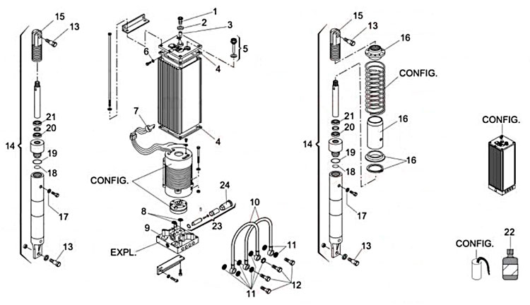
Запчасти для шлагбаума FAAC 620 STD

| Номер | Артикул | Кол-во | Описание |
| 1 | 7324745 | 1 | Логотип для кожуха приводов FAAC 746, 844, C850, шлагбаумов 615, 620, 640 серии |
| 2 | 7094025 | 1 | Прокладка корпуса 10X3 для шлагбаумов FAAC серии 620, 640 |
| 3 | 419401 | 1 | Корпус блока управления для шлагбаумов FAAC серии 615, 617, 620, 640 |
| 4 | 2022715 | 1 | Плата управления 624 BLD для шлагбаумов FAAC серии 620, 640 |
| 5 | 63000627 | 1 | Дверца корпуса шлагбаума 620 серии (RAL 2004) |
| 6 | 7580145 | 2 | Микровыключатель замедления для шлагбаумов FAAC серии 620, 640 |
| 7 | 63000518 | 1 | Вал выходной в сборе для шлагбаумов FAAC серии 620 |
| 8 | 63003314 | 1 | Кабель подключения микровыключателя для FAAC 620/640 |
| 9 | 63003315 | 1 | Замок дверцы шлагбаума FAAC 620/640 |
| 10 | 7131005 | 1 | Ключ разблокировки для приводов FAAC 740, 741, 850, 400, 422, 450, 850 серий и шлагбаумов 620, 640 серии |
| 12 | 713002 | 1 | Ключ трехгранный FAAC |
| 13 | 7270645 | 1 | Дверца корпуса для шлагбаумов FAAC серии 620 |

| Номер | Артикул | Кол-во | Описание |
| 1 | 7109095 | 1 | Кабельная муфта для приводов FAAC 746, 844, 560, 615, шлагбаумов 615, 620, 640 серий |
| 2 | 7043355 | 1 | Уплотнительное кольцо для приводов FAAC 746, 844, 560, шлагбаумов 615, 620, 640 |
| 3 | 7099245 | 1 | Прокладка набивная для приводов FAAC 746, 844, 560, шлагбаумов 615, 620, 640 |
| 4 | 7099315 | 2 | Прокладка корпуса для шлагбаумов FAAC серии 615, 620, 640 |
| 5 | 7112065 | 1 | Заглушка с индикатором уровня масла для шлагбаумов FAAC серии 620, 640, B680 |
| 6 | 7094065 | 1 | Шайба для приводов FAAC 400, 402, 422, 560 серий и шлагбаумов 615, 620, 640 серии |
| 7 | 7514075 | 1 | Кабель подключения двигателя 1.8 м для шлагбаумов FAAC серии 620, 640 |
| 8 | 7090010015 | 2 | Комплект уплотнений OR 4.48X1.78 (2018) для приводов FAAC 400, 402, 422, 450, 560 серий и шлагбаумов 615, 620, 640, B680 |
| 9 | 4997645 | 1 | Блок клапанный для шлагбаумов FAAC серии 615, 620, 640 |
| 10 | 63000112 | 2 | Шланг гидравлический для шлагбаума B680H |
| 11 | 63003231 | 8 | Уплотнительное кольцо (BONDED SEAL 1/8 GAS CENT. 89096 DICKTOMA) |
| 12 | 7110115 | 4 | Болт крепления шланга для шлагбаумов FAAC серии 615, 620, 640, B680 |
| 13 | 7182155 | 4 | Болт фасонный шарнира гидроцилиндра для шлагбаумов FAAC серии 620, 640 |
| 14 | 63003417 | 2 | Гидроцилиндр для шлагбаума FAAC 620 |
| 15 | 7221005 | 2 | Вилка гидроцилиндра с пружиной для шлагбаумов FAAC серии 620, 640 |
| 16 | 63003318 | 1 | Кожух защитный гидроцилиндра FAAC 620/640 серий |
| 17 | 7094145 | 2 | Уплотнитель для шлагбаумов FAAC серии 620, 640, B680 |
| 18 | 7090350025 | 2 | Кольцо уплотнительное 34,6х2,62 для приводов FAAC 402, 450 серии и шлагбаумов 620, 640 |
| 19 | 7090360025 | 2 | Кольцо уплотнительное 40.95X2.62 для приводов FAAC 400, 422 серий и шлагбаумов 620, 640 |
| 20 | 7095095 | 2 | Сальник EU 2028 Z20 для шлагбаумов FAAC серии 620, 640 |
| 21 | 7095015 | 2 | Маслосъемное кольцо для шлагбаумов FAAC серии 620, 640 |
| 22 | 714017 | 3 | Гидравлическое масло FAAC HP OIL 1л |
| 23 | 424593 | 1 | Узел разблокировки для шлагбаумов FAAC серии 620 |
| 24 | 7128035 | 1 | Цилиндр разблокировки для шлагбаумов FAAC серии 615, 620, 640 |

| Номер | Артикул | Кол-во | Описание |
| 1 | 7049135 | 2 | Гайка всасывающего клапана для приводов FAAC 400, 402, 422 серий и шлагбаума 615, 620, 640, B680 |
| 2 | 63000577 | 2 | Уплотнительное кольцо для шлагбаумов FAAC серии 615, 620, 640, B680 |
| 3 | 4404065 | 2 | Клапан всасывающий с пружиной для приводов 400, 402, 422, 450 серий и шлагбаума 615, 620, 640, B680 |
| 4 | 7090010015 | 2 | Комплект уплотнений OR 4.48X1.78 (2018) для приводов FAAC 400, 402, 422, 450, 560 серий и шлагбаумов 615, 620, 640, B680 |
| 5 | 63000007 | 2 | Фиксатор для шлагбаумов FAAC серии 615, 620, 640 |
| 6 | 7049005 | 2 | Заглушка клапанов гидроблока для приводов FAAC 400, 402, 422 серий и шлагбаума 615, 620, 640, B680 |
| 7 | 4404085 | 2 | Клапан запорный для приводов FAAC 400, 402, 422, 450 серий и шлагбаума 615, 620, 640 |
| 8 | 4180285 | 1 | Игла стопорного клапана для приводов FAAC 400, 402, 422 серий и шлагбаума 615, 620, 640 серии |
| 9 | 7090300015 | 1 | Уплотнение комплект OR 7.66X1.78 90 SHORE для приводов FAAC 400, 402, 422 серий и шлагбаума 615, 620, 640, B680 |
| 10 | 4180395 | 2 | Клапан BY-Pass для приводов FAAC 402, 560 серий и шлагбаума 615, 620, 640 серии |
| 11 | 7090150015 | 2 | Плоское уплотнение OR 9.25X1.78 (2037) для приводов FAAC 402, 450, 560 серий и шлагбаума 615, 620, 640 серии |
| 12 | 4180305 | 1 | Клапан разблокировки для шлагбаумов FAAC серии 615, 620, 640 |
| 13 | 424593 | 1 | Узел разблокировки для шлагбаумов FAAC серии 620 |
| 14 | 7128035 | 1 | Цилиндр разблокировки для шлагбаумов FAAC серии 615, 620, 640 |
Купить FAAC 620 STD (104622877) в интернет-магазине СЕК-ГРУПП в Москве: Черницынский проезд, д.3, стр.1 (метро Щелковская). Доставка по России.
FAAC 620/5 STD KIT (комплект)397 474 ₽
FAAC 620/5 STD дюралайт473 627 ₽

Питание
Интенсивность использования
Потребляемая мощность
Потребляемый ток
Класс защиты
Рабочая температура
Максимальный крутящий момент
Питание двигателя
Термозащита
Тип масла
Конденсатор
Производительность насоса
Скорость вращения двигателя
Максимальная длина стрелы
Ширина проезда
Время открытия
Тип стрелы
Обработка кожуха
Краска кожуха
Тип механизма
До ТК (СДЭК, ПЭК, Деловые Линии) - 0 Р
Остальные транспортные компании - 1000 Р
Заказы от 60 000 Р (по ценам сайта) - 0 Р
В пределах МКАД заказы стоимость > 5 000 руб. и < 2 кг - 750 руб., > 2 кг составляет 1000 руб.
Негабарит МКАД - 1300 Р (более 5 метров - 2000 Р)
За МКАД - 1000 Р + 90Р/км
Негабарит за МКАД - 1300Р + 110Р/км (более 5 метров - 2000 Р + 110Р/км)
г. Москва, Черницынский пр-д, д. 3 стр. 1. метро Щелковская
г. Уфа, ул. Трамвайная, д. 2 оф. 1-02
Мы правильно определили ваш город?
Оплата осуществляется путем банковского перевода денежных средств с расчетного счета покупателя на наш расчетный счет.
Счет выставляется по запросу в печатном или электронном виде. Счет действителен в течении 3-х банковских дней за исключением оборудования производства компании PERCo.
Оплата наличными производится в офисах компании при получении товара со склада по адресам:
- г. Москва, Черницынский проезд, д.3, стр.3
- г. Уфа, Трамвайная улица, д.2, офис 1-02
Стоимость заказа передаётся водителю компании при получении товара.




